Breathable Container

A food container that reacts to the condensation due to its level of humidity and allow air ventilation by itself

Painpoint

Condensation happens in a food container when warm or hot food is placed inside the container and then sealed or certain ingredients are stored for a long period. It happens when water vapor in the air comes into contact with a cooler surface and changes from a gaseous state to a liquid state. The reason for this is that hot food gives off water vapor, which increases the humidity inside the container

Chosen Organism

Fabrication

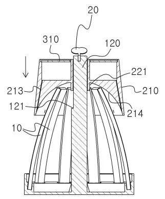
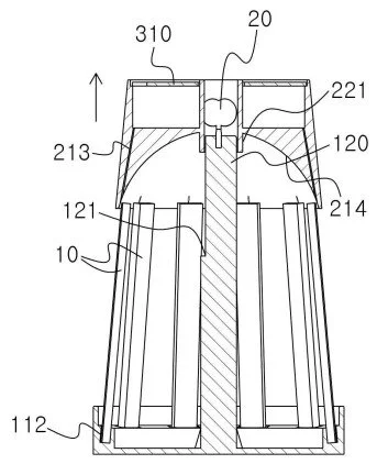
Focused on designing a lid that has a functionality of ventilation by composite material opening the path where air circulation could happen to prevent condensation inside of the food container

Final Design

1st Prototype

After

Wood goes on the side of the container lid. The more it absorbs the water, the more it bends and creates the space

A food container that reacts to condensation due to its level of humidity and allows air ventilation by itself. When the condensation happens, the cuts from the lid naturally bents over and create a negative space so the air can travel. When it is fully ventillated and low humidity, it will naturally flatten out and close the lid and make it tight.

A variety shapes of openings are available. Small wood panels go on the top of the wooden base lid, and let the container breathe when the level of condensation is high. It will naturally control the humidity.

Fabricated by using metal lathe, and laser cutting

Material Testing

Cool & Wet


When water drops, water slides down towards the cone’s central stalk, the water fills up the cells and empty spaces between them, and layers expand and stretch.

The Strategy

Natural Humidifier

Composite Material

Dry - Cone open

Moist - Cone closed

Before

Warm & Dry

Stretchy cells absorb moisture and expand

National Institute of Ecology

Stiff fibers

Stretchy cells

Stiff fibers remain the same length

Result


2nd Prototype

1. Wood only

2.Wood + Epoxy Resin

3.Wood + Carbon Fiber

4.Wood + Poly Propelyne

Humidifier

‘Cypress + Epoxy Resin’ and ‘Wood + Polypropylene’ were successfully bent after 15-20 minutes after. Both composite materials can be used in the food container due to its food safeness and waterproofness

"A phenomenon in which a composite material bends due to a difference in expansion rate with two composite layers due to the moisture absorption expansion and contraction of wood"

Prototyping

Pine Cone

Pinecones are known to open and close their scales in response to humidity. The scales of a pinecone will open to release the seeds within when the air is dry. When the air is humid, the pinecone scales close to protect the seeds from moisture. It is because pinecones have evolved to rely on environmental cues to determine the best time to release their seeds

The present invention supplies moisture to the surroundings using the principle of natural evaporation of wood, and water input according to the hygroscopic expansion and contraction of wood Natural with wood that changes the height of the part and allows the user to know whether the room is dry through the exposed state of the display member.

The Function

After

Wood goes on the top surface of the container lid. The more it absorbs the water, the more it bends and creates the space

Before